1 .. 16 17 18 19 20 21 22 23 24 25 26 .. 41
Página 21 de 41 • DAU 09/051 • Edición F
 
 
 
Figura 5.5:
Esquina saliente del sistema Aquapanel
®
WM111C.
 
 
 
 
Figura 5.6:
Esquina entrante del sistema Aquapanel
®
WM111C.
 
 
 
 
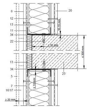
Figura
5.7:
Encuentro
con
forjado
del
sistema
Aquapanel
®
 
WM111C.
 
 
Figura
5.8:
Encuentro
con
forjado
con
interrupción
de
la
placa
Aquapanel
®
Outdoor.